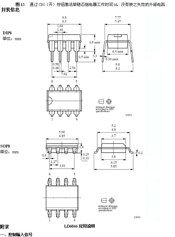
| 封装 | DIP8 双列8引线直插式 |
|---|---|
| 批号 | 11+ |
| 制作工艺 | 双极型平面工艺 |
| 营销方式 | 厂商直销 |
| 产品性质 | ** |
| 处理信号 | 模拟信号 |
| 导电类型 | 双极型 |
| 集成程度 | 中规模 |
| 品牌 | 华奥电子 DHA |
| 型号 | LD6046 U6046B DIP8 |
后窗加热定时器/长周期定时器LD6046 DIP8
概述
LD6046B和LD6047B分别是两种极性触发的长周期定时器,用预先设置好的继电器工作时间,自动控制汽车高负载器件的工作过程。器件具有加电重新设置的功能,确保定时器对强电流器件的工作进行有效的控制。
功能
● 继电器工作时间范围:3.7秒~20小时
● 外置的RC振荡器决定时间参数
● 内置稳压二极管保护继电器驱动端口
● 触发方式产生的跳变输入信号
● 开ON/关OFF方式产生跳变的输入信号
● 继电器线圈断流反向感应电压保护
● 射频干扰脉冲保护
● LD6046:开/关输入信号接电源VBatt
● LD6047:开/关输入信号接地
● LD6046 LD6047有两种封装提供选择:DIP8 SOP8











★买家须知
●旺不在线时可以 联系电话 :0415-6161121 手机13941550338(可发短信)
Q Q :254218618
●各位买家,由于电子产品品种多、流量大、缺货是很正常的情况.请在购买时如果每个型号数量大于500支,请询问卖家是否有现货后再拍。以免没有货给您带来不必要的麻烦。(不在线时可发手机短信,电话联系)。
●电子产品在生产过程中是有管理批号的,不同的时期生产出来的电子产品批号是不一样的,所以会出现你所购买的图片上的宝贝和你收到的实物宝贝批号不同,因此发货时产品批号以当天的货为准。除了打印的批号字印不同,我们保证产品的技术规格和质量是完全一致的。
●** 普票收取17%税费。请在拍下时注明是否需要开具**,并附上完整开票资料:单位名称,税号。请一定填写完整开票资料,以免**无法开具或不能报销。谢谢配合!
●拍下后请注意在慧聪上所留的收件人、收件地址、联系电话是否详实,以便发货。
●运费说明:在我店购买多款商品,只收一次运费;并且每单每次只收10-20元快递费(按所选用的快递公司大陆地区的首重邮费计算),本店中国地区可以用顺丰速运、圆通速递、申通E物流发货。请买家选择经济快捷的快递公司。
欢迎光临惠顾!
我们将为你提供一站式的**服务,量大价格优惠。
公司名称:丹东华奥电子有限公司
公司网址://www.huaaoe.com
公司地址:中国辽宁省丹东市桃源街64号
业务QQ:254218618
手机13941550338
电话0415-6161121
邮箱6179223@vip.163.com MSN:huaaoe@hotmail.com



